Юбка и свитер с широкими рукавами

Описание вязания модели
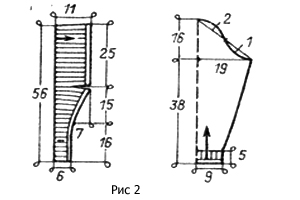
Размер 44—46.
Если приведенный здесь размер Вас не устраивает, Вы можете воспользоваться соответствующим разделом по увеличению или уменьшению выкойки.
Шерсти: 300—400 г темно-серой ровницы в 1 нить для юбки; 300 г светло-серой и 250 г темно-серой для свитера (в стограммовом мотке — 294 м).
Спицы № 2,5 и 3,5.
Вязанье чулочное, платочное (все ряды — лицевые петли) и резинка 1X1.
Свяжите контрольный образец чулочной вязкой на спицах № 3,5 и по нему рассчитайте плотность вязанья. Спинку и перед вяжите из светло-серой пряжи, начиная с расчетного числа петель резинкой 1*1 на спицах № 2,5. Затем перейдите на чулочную вязку и спицы N9 3,5 (количество петель при этом не меняйте). Вяжите по выкройке. Петли горловины оставьте открытыми (нанижите их на прочную толстую нить).
Рукав вяжите от шва на спицах № 3,5, чередуя полосы из лицевой и изнаночной глади: из светло-серой пряжи — лицевой гладью, из темно-серой — изнаночной. Манжету свяжите отдельно на спицах № 2,5. Ее можно выполнить резинкой 1*1 или платочной вязкой. Высота манжеты 4—5 см, ширина — 16—18 см. Закончите ее 5—6 рядами лицевых петель из вспомогательной нити, отутюжьте, отплетите вспомогательную нить и прикеттлюйте к присборенному рукаву с лицевой стороны. По линии оката рукава заложите встречные складки из светлосерых полос, все темно-серые полосы соединятся. Втачайте рукав в прямоугольную пройму.
Воротник-стойку свяжите чулочной вязкой на спицах № 3,5. Начинайте и заканчивайте работу вспомогательной нитью. Воротник отутюжьте, сшейте по вертикали трикотажным швом, затем удалите вспомогательную нить и прикеттлюйте его сначала к лицевой стороне модели; сложив пополам — к изнанке.
Двухшовную юбку начинайте с платочной вязки (3 см на спицах N9 2,5), затем на спицах N? 3,5 продолжите чулочным вязаньем (изнаночная гладь) и закончите работу 5—6 рядами лицевых петель из вспомогательной нити. Полотна отутюжьте и сострочите на машинке. Отплетите вспомогательную нить, отверните верхнюю часть юбки (2,5 см) на лицевую сторону, приметайте, отплетите один ряд шерстяных нитей и прикеттлюйте открытые петли подшивки к лицевой стороне юбки. Вденьте резинку.

